/
/
Handle Mechanical Jack​

Handle Mechanical Jack​

The JQ Series Mechanical Manual Jack is designed for use in vehicle maintenance, equipment servicing, and track lifting. This jack is known for its easy operation, sturdy construction, and high safety factor. Its versatility makes it a preferred choice for a wide range of industries, including mining and manufacturing, offering reliability and efficiency in demanding environments.
handle mechanical jack​

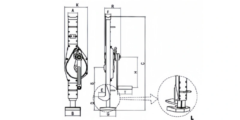
HANDLE MECHANICAL JACK​ DRAWING

handle mechanical jack​ drawing

HANDLE MECHANICAL JACK​ SPECIFICATIONS

ModelJQ-1.5JQ-3JQ-5JQ-10JQ-16JQ-20JQ-25
Capacity(kg)15003000500010000160002000025000
Running test load(kN)18.436.861.3122.5196245306
Chain shake to lift full load (N)150280280560640640640
Headroom(drawn close-up)Hmin(MM)300350350410320320320
Dimensions(mm)A7783105120153153153
B100130(165)145(200)145(220)150150198
C605-905715-1085730-1080795-1160820-1140865-1180950-1360
D55-35560-430
(20-430)
70-420
(30-420)
83-448
(30-448)
135-455125-440110-520
E5560(50)70(60)80(75)858585
F40456873909090
G110135(130)170170182182230
H225285285330360360360
K121200190252275275388
R119140155185210224200
S185230(270)220(280)220(280)202202205
T126126126255255255255
Net weight(kg)10.721.3(24.5)27(30)47(53)64.57293

HANDLE MECHANICAL JACK​ DESIGN

  • Available in various capacities (1.5t to 25t) for diverse lifting tasks.

  • High-quality alloy steel for durability and safety.

  • Double paw brake system for quick and secure braking.

  • Low gearing tolerance ensures smooth, jerk-free operation.

  • Minimum lifting force requirement (less than 25 kg).

  • Automatic loading brake system for added security.

  • Reinforced base and thickened groove for enhanced stability.

  • Tested to 1.25 times rated capacity for reliable performance.

  • Portable and easy to store with a folding handle.

INSTRUCTIONS & CAUTIONS

Ensure Proper Setup Before Use

Always place your mechanical jack on a flat, stable surface before use. Using it on uneven or soft ground can lead to instability and increase the risk of accidents. Confirm the area is free of obstructions and that the jack is positioned securely under the load. Setting it up correctly is key to safe and efficient lifting.

Lift Slowly and Steadily

When operating the jack, raise the load gradually and steadily. Avoid fast or jerky movements, as this can affect the stability and control of the lift. By turning the handle at a steady pace, you maintain better control over the load, ensuring smooth operation and preventing unnecessary stress on both the jack and the load.

Do Not Exceed the Jack’s Rated Capacity

Each mechanical jack has a maximum weight capacity—never exceed this limit. Overloading the jack can cause damage to the mechanism and even lead to failure, which could result in serious safety hazards. Always check the load capacity before use, and choose a jack with a higher capacity if needed for heavier lifting tasks.

 

Regular Maintenance and Inspections

For optimal performance, inspect your jack regularly. Check for signs of wear, rust, or damage, especially on moving parts like the handle and screw mechanism. After each use, clean the jack to remove dirt and debris, lubricate the moving parts, and store it in a dry, cool place. Regular maintenance ensures the jack remains reliable and safe for long-term use.

OUR ADVANTAGES

edit

Customized Solutions Tailored to Your Needs

At Powerful Machinery, we understand that each business has unique needs. That’s why we offer custom-engineered solutions to match your specific requirements. Whether you need specialized lifting equipment or custom modifications, we work closely with you to deliver the perfect solution that enhances efficiency and performance for your operation.

Comprehensive Service

Our one-stop sourcing approach streamlines your procurement process. We take care of everything—from sourcing the right equipment to handling logistics and transportation. This means you can focus on your core business while we ensure your equipment gets to you on time and in perfect condition, saving you time and hassle.

Uncompromising Quality and Safety

We ensure the highest standards of quality and safety in all our products. Our equipment undergoes thorough testing and strict quality checks, so you can rely on it to perform reliably under challenging conditions. With Powerful Machinery, you get the peace of mind that comes with using equipment built for long-lasting safety and performance.

Reliable After-Sales Support

Our commitment to you goes beyond just providing quality equipment. We offer dedicated after-sales support, including guidance on installation, troubleshooting, and regular maintenance. Our customer service team is always ready to assist, ensuring that your equipment continues to operate smoothly and efficiently throughout its lifespan.

FAQ

A mechanical jack uses manual effort to lift heavy loads. Typically, a threaded screw or crank system is turned to raise or lower the load. This simple yet effective mechanism offers precise control, making it ideal for various applications, including automotive repairs and industrial tasks. It’s a reliable choice for lifting in tight spaces or areas requiring careful handling.

  • Lifting Mechanism

    • Hydraulic Jacks: Use fluid pressure to lift loads quickly and efficiently, ideal for heavy-duty tasks.

    • Mechanical Jacks: Rely on manual effort, such as turning a screw or crank, to lift loads more slowly but with greater precision.

  • Speed and Efficiency

    • Hydraulic Jacks: Lift heavier loads faster, making them perfect for time-sensitive or large-scale lifting tasks.

    • Mechanical Jacks: Operate slower but offer more control, making them better for precise, smaller lifting tasks.

  • Load Capacity

    • Hydraulic Jacks: Capable of handling larger, heavier loads, often used in industrial or construction environments.

    • Mechanical Jacks: Best suited for light to medium-duty lifting tasks, such as automotive repairs or machinery maintenance.

  • Durability and Maintenance

    • Hydraulic Jacks: Require more maintenance due to their complex fluid systems and seals.

    • Mechanical Jacks: More durable and low-maintenance with fewer components that can wear out.

  • Control and Precision

    • Hydraulic Jacks: Provide fast lifting but less precision in certain situations.

    • Mechanical Jacks: Offer better control and precision, making them ideal for tasks where accurate lifting is crucial.

  1. Screw Jacks

    • Use a threaded screw to lift the load, providing precise control for accurate lifting.

    • Ideal for industrial applications or machinery maintenance where precision is crucial.

  2. Scissor Jacks

    • Compact and portable, scissor jacks are typically used in automotive repairs.

    • Easy to store and ideal for vehicle lifting and quick maintenance tasks.

  3. Bottle Jacks

    • Feature a vertical design for lifting heavy loads.

    • Suitable for heavy-duty tasks in industrial and construction settings, providing high lifting capacity.

When selecting a mechanical jack, consider the weight of the load and the type of task. For lighter tasks, a scissor jack may suffice, while a bottle jack is better for heavier lifting. If you need precision, a screw jack is ideal. Always match the jack’s weight capacity with your lifting requirements to ensure safety and efficiency.

  1. Position the Jack

    • Place the jack on a flat, stable surface to ensure stability during lifting.

    • Align the jack properly beneath the load for a secure lift.

  2. Turn the Handle Slowly

    • Gradually turn the handle to raise the load, avoiding jerky movements that could destabilize the jack.

    • Maintain control of the load throughout the lifting process.

  3. Use a Jack Stand for Support

    • After lifting, always use a jack stand to provide additional support and ensure safety while working on the load.

  4. Check the Load Capacity

    • Never exceed the jack’s rated load capacity to prevent mechanical failure or safety hazards.

    • Ensure the weight of the load is within the jack’s specifications for safe operation.

Yes, mechanical jacks are easier to repair than hydraulic models due to their simpler design. You can replace components like the handle or screw mechanism if they wear out. Regular inspections help prevent problems, but if your jack needs repair, consult the manufacturer’s guidelines or a professional repair service.

  • Clean the Screw Mechanism

    • Remove any dirt or debris from the screw mechanism to ensure smooth operation.

    • Cleanliness helps prevent friction and wear, improving the jack’s performance.

  • Lubricate the Moving Parts

    • Apply lubricant to the moving parts to reduce friction buildup.

    • Regular lubrication helps maintain smooth operation and prevents future issues.

  • Check for Wear or Damage

    • Inspect the internal components for signs of wear or damage if the problem persists.

    • Replace any worn-out parts to restore proper functioning.

  • Maintain Regularly

    • Perform routine maintenance to keep the jack operating smoothly.

    • A well-maintained jack should require minimal effort to operate.

Related Products

Get in touch
Download Product Catalog

After downloading the product catalogue, our dedicated technical experts will provide you with one-on-one service.