Standard Quick Links

Our Standard Quick Links offer unmatched strength and simplicity. Made from high-grade steel with a secure threaded closure, they’re perfect for joining chains, cables, and components across industrial and marine operations.
standard quick links

Product Specifications

standard quick links factory
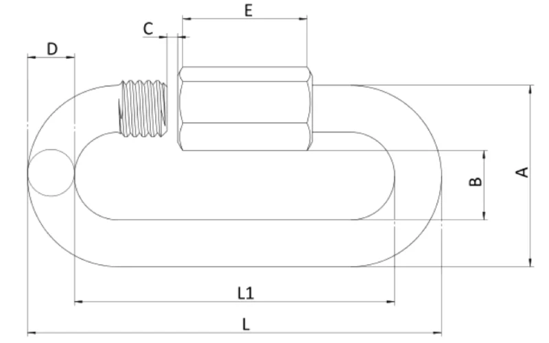
SIZEABCDLL1EWEIGHT
MMMMMMMMMMMMMMMMKG/100PCS
3.5171053.53629110.8
419.511.55.5439.531.512.51.2
523136.5548.535.5162.1
626.514.57.565745193.5
730168.57665221.55.45
833.517.510.587458247.5
9371911980622610.5
1040.520.5121089692913.5
1247.523.51512104.580.53322.8
1454.526.517141219338.535
1661.529.519161401084550

Products Diagrams

standard quick links manufacture

The Standard Quick Link features a simple screw-gate mechanism that opens easily to attach chains or fittings. Once closed, it forms a strong, secure connection capable of handling significant tension loads safely and efficiently.

Compact yet strong, these links are precision-engineered for consistent performance. Available in long, delta, and pear shapes, they meet varied connection requirements across lifting, anchoring, and load-bearing applications.

Material Specification

Grade:
Manufactured in industrial-grade carbon steel or stainless steel, ensuring excellent mechanical strength and fatigue resistance for demanding environments.

Finish:
Zinc-plated or polished surface provides superior corrosion protection and a professional appearance even in humid or offshore conditions.

Attachment:
Quick screw-lock barrel design allows for easy attachment and removal of chains or cables without additional tools.

Standard Quick Links Type:
Available in standard, long, delta, and pear models to match different load and connection requirements.

Material:
High-strength steel alloys with precise threading deliver reliability, safety, and long-term durability in both indoor and outdoor use.

Application

Construction Industry

Used to link chains, lifting slings, and equipment securely, supporting efficient load transfer and safe operation in construction and scaffolding setups.

Marine & Offshore

Ideal for connecting ropes, anchors, and mooring lines with corrosion-resistant performance in saltwater and offshore environments.

Mining Industry

Designed for rugged environments where reliability, quick installation, and secure load management are essential for heavy-duty mining equipment and chains.

Advantages

Corrosion & Finish Protection

Zinc-plated and stainless finishes prevent rust, ensuring long service life and dependable use in humid, marine, and outdoor conditions.

Customization & Traceability

OEM sizes, finishes, and branding available for bulk orders. All products include batch traceability and quality inspection reports.

Load Control & Durability

Precision-engineered threading and strong materials ensure high load capacity and long-lasting mechanical stability under repeated stress.

Bulk Capacity & Lead Time

Powerful Machinery supports large-scale manufacturing with flexible lead times, competitive pricing, and worldwide delivery for distributors and industrial buyers.

What Our Clients Say

FAQ

What materials are your Standard Quick Links made from?

We produce our Straight Snap Hooks using high-grade stainless or carbon steel, providing the perfect balance of strength, flexibility, and corrosion resistance for industrial and marine applications.

 

 

 

Select based on the diameter and load rating of your chain or cable. Our team can help you match the right specification for your application.

 

 

 

 

Yes, they are commonly used for light to moderate lifting and connecting tasks. For heavy lifting, we recommend checking the specific load rating provided with each product.

 

 

 

 

We provide OEM customization services, including size adjustments, zinc plating, stainless steel polishing, and engraved branding for traceability.

 

 

 

 

Each batch undergoes mechanical strength testing, corrosion resistance checks, and thread inspection. We provide inspection certificates for all bulk shipments.

 

 

 

 

Typically 2–4 weeks, depending on order volume. Our large production capacity ensures fast turnaround and consistent product availability for global buyers.

 

 

 

 

Free Quote

Contact us for product details, pricing or technical support. Just send an email and we’ll respond immediately with an accurate and complete solution.

Related Products

Get in touch
Download Product Catalog

After downloading the product catalogue, our dedicated technical experts will provide you with one-on-one service.