/
/
Horizontal Steel Plate Lifting Clamp​

Horizontal Steel Plate Lifting Clamp​

The horizontal steel plate lifting clamp is designed for safely lifting and transporting steel plates, construction materials, and profiled bars in a horizontal position. Made from high-quality carbon steel, it ensures durability and reliability in demanding environments. The clamp features a safety button and a replaceable screw jaw.
horizontal steel plate lifting clamp​

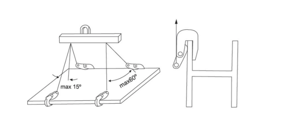
HORIZONTAL PLATE LIFTING CLAMP​ DRAWING

horizontal plate clamp​ drawing

SPECIFICATIONS OF HORIZONTAL PLATE CLAMP FOR LIFTING​

ModelWLL(tons)Jaw Opening(mm)Weight (kg)
PDB0.80.80–252.5
PDB110–303.5
PDB1.61.60–304
PDB220–405
PDB3.23.20–456
PDB440–506.5
PDB550–557.5
PDB660–6510.5
PDB6(B)60–13022
PDB880–10022
PDB10100–12533

HORIZONTAL PLATE CLAMP​ FEATURES

  • Designed for Horizontal Lifting
    This clamp is specifically designed for lifting and transporting steel plates, construction materials, and profiled bars in a horizontal position, making it perfect for heavy-duty operations.

  • High-Quality Carbon Steel Construction
    Built with durable carbon steel, this clamp delivers exceptional strength and reliability, even under tough lifting conditions, ensuring long-lasting performance.

  • Prevents Snatch or Shock Loading
    To protect both the clamp and the load, the design prevents snatch or shock loading, promoting safer lifting practices and reducing the risk of accidents.

  • Working Load Limit (WLL) for Safe Operation
    The clamp’s WLL indicates the maximum load it can safely support when used in pairs with a 60º lift angle. For larger loads, multiple clamps can be used for added support.

  • Replaceable Screw Jaw & Safety Button
    The clamp features a replaceable screw jaw for easy maintenance, along with a built-in safety button that adds an extra layer of security for operators during lifting operations.

INSTRUCTIONS & CAUTIONS

Match the Load with Clamp Capacity

Always check the load’s weight and ensure that the horizontal steel plate lifting clamp has a matching or higher working load limit (WLL). The clamp should only be used in pairs with a 60º lift angle. Exceeding the clamp’s capacity can lead to serious safety issues, so always confirm the specifications before use.

Prevent Snatch or Shock Loading

Never allow snatch or shock loading, as sudden movements or dropping the load can damage the clamp and pose a risk to safety. Always lift smoothly and steadily to protect both the equipment and the load, ensuring a safer working environment.

Inspect for Wear Before Each Use

Try to avoid shock loading when using the trawl block. Sudden, jerky movements can stress the block beyond its capacity and cause damage over time. Always ensure a smooth and steady load is applied to avoid unnecessary strain. Operating your block with a consistent load prevents early wear and helps keep your gear in top condition.

 

Use in Pairs or Multiples for Heavy Lifts

For larger or heavier loads, always use the clamp in pairs or multiples. Relying on a single clamp may not provide enough security or balance for the load. If you’re unsure about the best setup, reach out to our team for guidance on safely handling heavy lifting tasks.

OUR ADVANTAGES

edit

Custom-Engineered Solutions

Every lifting operation is unique, and we understand that. That’s why we offer custom-engineered solutions tailored to your specific requirements. From load capacity to special features, we work with you to design the perfect equipment for your needs, ensuring optimal performance.

One-Stop Sourcing for Convenience

With us, you get everything you need in one place. We offer a wide range of lifting equipment, all built to meet various specifications. Whether you’re sourcing clamps, slings, or other tools, our streamlined process saves you time and effort, letting you focus on your business.

Unmatched Quality & Safety

We prioritize quality and safety in everything we do. Our products undergo rigorous testing and meet the highest industry standards. We ensure that every piece of equipment is durable, reliable, and safe for operation, giving you peace of mind on every project.

Industry-Leading After-Sales Support

Our commitment to you doesn’t end at the sale. We provide exceptional after-sales service, including expert advice, maintenance support, and spare parts. We’re here to ensure your equipment operates smoothly and efficiently for years to come, helping you maintain uptime and reduce downtime.

FAQ

Yes, this clamp is versatile and can be used for lifting various materials, including steel plates, aluminum, and other construction materials. For special applications or unusual materials, please contact us, and we’ll advise you on the best solutions.

For heavy lifts, it’s best to use the horizontal steel plate lifting clamp in pairs to maintain balance and ensure safety. Using the clamp alone might not provide adequate support for larger loads. Contact us if you’re unsure about the setup for your lifting task.

Don’t use the clamp if the load exceeds its WLL or if the material you’re lifting is unstable. It’s also not suitable for lifting irregularly shaped or poorly secured loads. If you need guidance on proper usage for specific conditions, feel free to reach out, and we’ll provide expert recommendations.

To determine how many clamps you need, calculate the total weight of your load and check the clamp’s WLL. For heavy or large loads, use the clamp in pairs or multiples. Our experts can assist you with the correct configuration to ensure safe and efficient lifting.

Our horizontal steel plate lifting clamps come with a standard warranty covering manufacturing defects. If the clamp fails under normal use during the warranty period, we’ll replace or repair it. For warranty details, feel free to contact us and we’ll provide you with more information.

  • Provide Load Details:
    Share the weight and material of the load you plan to lift. This helps us determine the right horizontal steel plate lifting clamp for your needs.

  • Specify Your Requirements:
    Let us know if you have any special requirements, such as clamp size or capacity, and we’ll tailor the options to your project.

  • Receive a Competitive Quote:
    Once we have the details, we’ll send you a customized, competitive quote with the best clamp options for your specific lifting needs.

  • Get Started Today:
    Contact us to get started on your quote and find the ideal horizontal steel plate lifting clamp for your project.

Related Products

Get in touch
Download Product Catalog

After downloading the product catalogue, our dedicated technical experts will provide you with one-on-one service.